El iPhone con pantalla plegable ya estaría en camino
Parece que Apple ya se sumó a la tendencia de los equipos plegables.

Desde que se conoció la existencia de la tecnología de pantalla plegable para dispositivos móviles, esta característica se rápidamente se convirtió en una tendencia muy llamativa para los usuarios de smartphones.
Por este motivo, durante 2019 varios fabricantes de smartphones comenzaron a trabajar en un dispositivo propio que contara con esta característica. Gracias a esta iniciativa aparecieron en el mercado modelos como el Samsung 'Galaxy Fold', Motorola RAZR o el Huawei X.
Consulte también: Aparece nueva falla en WhatsApp que afecta su perfil de Facebook e Instagram
Pese a que reconocidas marcas se sumaron a esta tendencia, Apple, un gigante en el mercado de smartphones, no parecía estar interesado en incorporar esta tecnología en sus teléfonos inteligentes. Una prueba de ello es el iPhone 11, equipo que ofrecía varias mejoras en sus cámaras pero no tenía pantalla plegable.
Sin embargo, parece ser que ahora Apple sí estaría interesada en desarrollar dispositivos móviles con pantalla.
Mire acá: Google maps cumple 15 años, ¿qué cambios ha tenido la popular app?
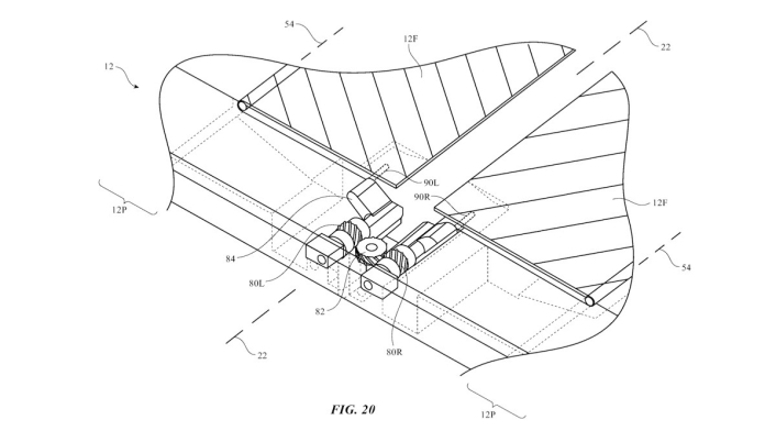
Recientemente la prensa internacional reveló que la compañía de Cupertino, ya patentó un diseño del que podría ser su primer teléfono plegable. En dicho plano aparece un plano de un iPhone, que se dobla en varias partes.

Según medios especializados, en la patente también se indicó como este iPhone plegable trabajaría con un mecanismo de solapas que se unen y separan para evitar un deterioro en la pantalla.
Pese a que esta patente prueba que Apple sí tiene interés en la tecnología de pantalla plegable, aún es incierto si la marca enfocará sus esfuerzos en desarrollar y lanzar próximamente un teléfono con esta característica. También existe la posibilidad de que esta tecnología se implemente en un nuevo iPad e incluso un MacBook.
De interés: El método para abrir varias cuentas de WhatsApp Web en un pc
Cabe recordar que próximamente se realizará el Mobile World Congress (MWC 2020), evento en el que varias marcas presentarán sus equipos más atractivos para cautivar a los consumidores en este año.